Contexte & brief
En 2021, j'ai pris part à un projet de conception produit sur un système de façade ventilée chez Saint-Gobain. L'objectif de ce projet a été de comprendre comment faciliter la pose de matériaux isolants dans un système de façade ventilée puis de proposer des solutions qui permettent de répondre aux enjeux identifiés.

Résultats & livrables
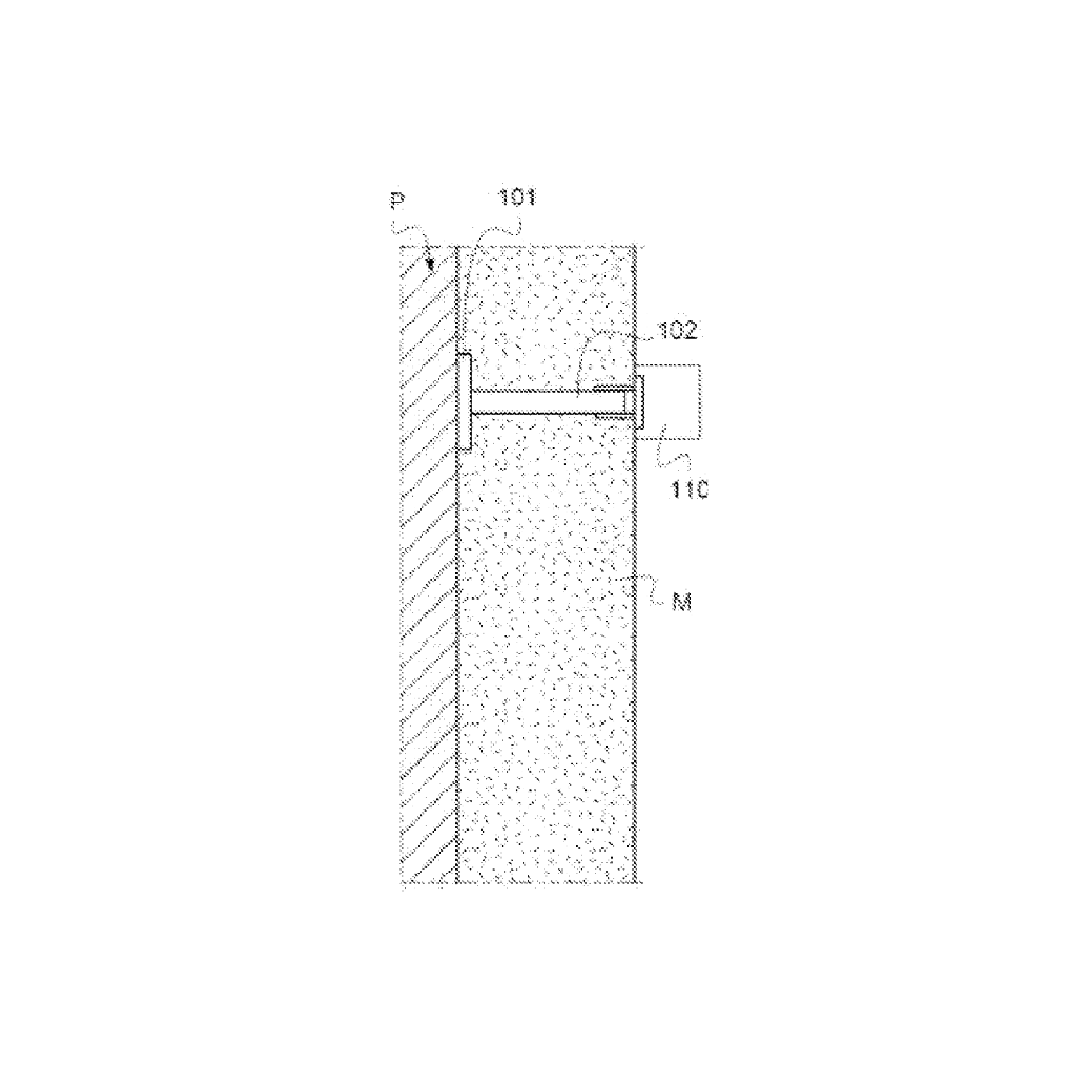
Un travail préalable de compréhension des usages m'a permis d'identifier un axe de réponse privilégié : les ancrages. Le dessin, le maquettage et des tests m'ont permis de développer 3 nouveaux systèmes d'ancrages permettant de faciliter la pose de matériaux isolants dans ce système. Ils permettent de réduire le nombre de perçages et donc de diminuer les nuisances sonores, la génération de poussières et l'effort physique. L'un d'entre eux a fait l'objet d'un dépôt de brevet.  

Méthodologie & compétences
Pour mener à bien ces activités de développement, j'ai notamment mobilisé mes compétences d'analyse fonctionnelle, de dessin, de modélisation 3D, de maquettage et de conduction de tests utilisateurs.

Détail système de façade ventilée

Ancrages existants pour matériaux isolants en façade ventilée

Dessin technique brevet - Ancrage façade pour isolant thermique

Dessin technique brevet - Ancrage façade pour isolant thermique

Back to Top